首页 产品技术资讯

怎样区分立式钮子开关与卧式钮子开关

2022-05-06 09:26:24

根据端子脚与开关所形成的角度划分,钮子开关可分为立式钮子开关与卧式钮子开关


端子脚与开关角度为180°的纽子开关,我们通常称为立式钮子开关, 如下图

M1.jpg


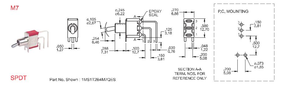
端子脚与开关角度为90°的纽子开关,我们通常称为卧式钮子开关。卧式纽子开关又可分为摇柄左右拨动的M6和上下拨动的M7。

如有疑惑或需要业务帮忙选样,请联系:何生: 18112594161
                                                             陈小姐: 18566555219



M6.jpg

M7.jpg



上一篇: ON ON ON 三挡纽子开关

下一篇: 门禁上用的短款金属开关

Tags:
首页 产品中心 关于我们 产品应用 联系我们
PG电子(中国)官方网站 - PG造就电子传奇